原理特點
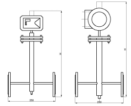
FF金屬管浮子流量計的構造是在一根截面積自下而上逐漸擴大的垂直錐形金屬管內,裝有一個能夠旋轉自如的由金屬或其它材質的轉子2(或稱浮子)。被液體從金屬管底部進入,從頂部流出
FF金屬浮子流量計
FF金屬管浮子流量計的構造是在一根截面積自下而上逐漸擴大的垂直錐形金屬管內,裝有一個能夠旋轉自如的由金屬或其它材質的轉子2(或稱浮子)。被液體從金屬管底部進入,從頂部流出。當流體自下而上流過垂直錐形管時,轉子受到兩個力的作用:一是垂直向上的推動力,它等于流體流經轉了與錐形管間的環形截面所產生的壓力差;另一是垂直向下的凈重力,它等于轉子所受重力減去流體對轉子的浮力。當流量加大使壓力差大干轉子凈重力時,轉子就上升。當壓力差與轉子的凈重力相等時,轉子處于平衡狀態,即停留在一定位置上。在金屬管外表面上刻有讀數,根據轉子的停留位置,即讀出被測流體的流量。轉達子流量計是變截面定壓差流量計。作用在浮子上下游的壓力差為定值,而浮子與錐管間環形截面積隨流量而變。浮子在錐形管中的位置高低即反映流量的大小。

●金屬結構,適合于高溫,高壓等惡劣工況
●適用于小口徑和低流速介質流量測量
●結構簡單,工作可靠,維護量小,使用壽命長
●對于直管段要求不高
●較寬的流量比10:1
●單軸靈敏指示,非接觸磁耦合傳動
●測量磁場的角位移與線位移
●單軸靈敏顯示
●雙行液晶顯示,可同時顯示瞬時流量與累計流量
●帶有參數設定菜單功能
●帶有數據恢復,數據備份及掉電保護功能
●報警與累計脈沖輸出功能
●有就地顯示型和智能遠傳型,支持多種輸出協議,
●采用16位嵌入式微處理器,運算速度快,精度高
●高清晰度背光LCD顯示,漢英菜單操作
●可選電池供電就地顯示功能
●DN200以上管道無法測量
●強磁場環節影響測量精度

主要應用于石化、鋼鐵、電力、冶金、紡織、食品、制藥、造紙等行業及市政環保、水利等領域。
| 測量范圍: | 水(20℃):1-200000l/h | |||
| 空氣(20℃,0.1013Mpa)0.03~4000m3h | ||||
| 量程比: | 標準型10:1,特殊型20:1 | |||
| 精確度: | 標準型1.5級 特殊型1.0級 | |||
| 壓力等級: | 標準型:DN15-DN50 40bar | |||
| 壓力損失: | 夾套的壓力等級為16bar,特殊要求請接洽售前技術人員 | |||
| 特殊型:DN15-DN50 250bar | ||||
| 7KPa-70KPa | ||||
| 介質溫度: | 標準型:-40℃~100℃,PTFE:0℃~120℃ | |||
| 高溫型:0℃-200℃ | ||||
| 介質粘度: | DN15:η<5mPa.s(F15.1-F15.3) η30<mPa.s(F15.4-F15.8) | |||
| DN25:η<30mPa.s DN50-DN150:<η<30mPa.s | ||||
| 環境溫度: | 遠傳型:40℃~185℃(液晶面板在-30℃~80℃期間性能最佳) | |||
| 就地指針型:-40℃~100℃ | ||||
| 連接形式: | 標準型:標準法蘭 | |||
| 特殊型:由用戶指定的任意標準法蘭或螺紋 | ||||
| 電纜接口: | 隔爆型為1/2NPT內螺紋,其它M20*1.5內螺紋 | |||
| 標準型:12~32VDC二線制4-20mA | ||||
| 報警型:18~28VDC三線制4-20mA | ||||
| 交流型:85~265VAC 50Hz | ||||
| 供電電源: | 電池型:3.6V,7.5AH鋰電池,三年 | |||
| 消耗功率: | ≤3W | |||
| 負載特性: | 二線制:RLmax=50*(-12)Ω=600Ω@24V | |||
| 報警型:最大負載電阻200Ω | ||||
| 交流型:最大負載電阻200Ω | ||||
| 報警輸出: | 上限或下限瞬時流量報警 | |||
| 開關量報警 繼電器輸出 | ||||
| 液晶顯示: | 瞬時流量顯示值范圍:0-50000(帶小數點) | |||
| 累積流量顯示值范圍:0-99999999(帶小數點)自動復位 | ||||
| 防護等級: | IP65 | |||
| 常規耐壓 | 口徑 | 耐壓 | ||||||
| DN15~50 | 40bar | |||||||
| DN80~200 | 16bar | 
金屬管浮子流量計的內置磁鋼,在浮子歲介質上下移動時,磁場隨浮子的移動而變化。
由就地指示器中的隨動磁鋼與浮子內磁鋼耦合;而發生轉動,同時電動指針。通過刻度盤指示出此時流量大小。(如下左圖所示)

由智能型指示器中的隨動磁鋼與浮子內磁鋼耦合,而發生轉動,同時帶動傳感磁鋼及指針,通過一個磁傳感器將磁場變化轉化為電信號,經A/D轉化,數字濾波,溫度補償,微處理器處理,D/A輸出,LCD液晶顯示,來顯示出瞬時流量及累積流量大小。(如上右圖所示)

指示器是直接用測量管中浮子帶動隨動磁鋼旋轉從而帶動指針軸,通過刻度盤直接顯示瞬時流量值,因此其結果簡單,無任何修正,可靠性高.

.

●方形鑄鋁殼體
●單獨的機械指針指示器瞬時流量
●5位液晶數字顯示瞬時流量計及8位數字顯示累積流量
●輸出4~20mA電流信號體
●上、下限報警開關動作點參數設定方法靈活設定。輸出繼電器
●脈沖輸出
最小間隔50毫秒一個脈沖,每個脈沖代表一個單位瞬時流量,當報警限值設定為零時,該報警輸出功能轉換為脈沖輸出方式,因此在單個報警輸出方式與脈沖輸出方式只能選其一
●數據備份及掉電保護功能體
●3.6V鋰電池供電可選(無輸出可液晶顯示)
●擁有K1.K2型指示器全部功能,可提供防爆功能選項


M1.M2指示單元外觀
| 口徑 | 高度(mm) | L(mm) | 壓力損失(KPa) | 重量(kg) | ||||||||||||
| DN15 | 250 | 220 | 14 | 3.7 | ||||||||||||
| DN25 | 250 | 230 | 19 | 5.2 | ||||||||||||
| DN50 | 250 | 255 | 23 | 8.7 | ||||||||||||
| DN80 | 250 | 270 | 33 | 14.2 | ||||||||||||
| DN100 | 250 | 280 | 42 | 15.2 | ||||||||||||
| DN150 | 250 | 320 | 60 | 33.7 | ||||||||||||
| DN200 | 350 | 350 | 70 | 48.7 | ||||||||||||

M4指示單元外觀
| 口徑 | 高度(mm) | L | 壓力損失(KPa) | 重量(kg) | ||||||||||
| DN15 | 250 | 241 | 14 | 3.7 | ||||||||||
| DN25 | 250 | 280 | 19 | 5.2 | ||||||||||
| DN50 | 250 | 300 | 23 | 8.7 | ||||||||||
| DN80 | 250 | 330 | 33 | 14.2 | ||||||||||
| DN100 | 250 | 350 | 42 | 15.2 | ||||||||||
| DN150 | 250 | 405 | 60 | 33.7 | ||||||||||
| DN200 | 350 | 460 | 70 | 48.7 | 


| 口徑 | 高度(mm) | L(mm) | L1(mm) | 重量(kg) | ||||||||||
| DN15 | 250 | 220 | 135 | 6 | ||||||||||
| DN25 | 250 | 230 | 135 | 6 | ||||||||||
| DN50 | 250 | 235 | 195 | 11 | ||||||||||
| DN80 | 250 | 270 | 225 | 16.5 | ||||||||||
| DN100 | 250 | 280 | 250 | 17.5 | 


| 口徑 | H高度(mm) | L(mm) | A(mm) | 壓力損失(KPa) | 重量(kg) | |||||||||||||
| DN15 | 560 | 260 | 120 | 18 | 7 | |||||||||||||
| DN25 | 560 | 260 | 120 | 22 | 8 | |||||||||||||
| DN50 | 600 | 260 | 120 | 28 | 15 | |||||||||||||
| DN80 | 700 | 260 | 150 | 36 | 25 | |||||||||||||
| DN100 | 700 | 260 | 150 | 45 | 29 | |||||||||||||
| DN150 | 760 | 300 | 150 | 58 | 50 | |||||||||||||
| DN200 | 800 | 300 | 200 | 70 | 61 | |||||||||||||


| 口徑 | H高度(mm) | L(mm) | A(mm) | 壓力損失(KPa) | 重量(kg) | ||||||||||||
| DN15 | 500 | 250 | 120 | 20 | 5 | ||||||||||||
| DN25 | 500 | 250 | 120 | 28 | 8 | ||||||||||||
| DN50 | 650 | 250 | 120 | 33 | 14 | ||||||||||||
| DN80 | 800 | 300 | 150 | 45 | 31 | ||||||||||||
| DN100 | 800 | 300 | 150 | 53 | 50 | ||||||||||||
| DN150 | 850 | 350 | 180 | 63 | 67 | ||||||||||||
| DN200 | 880 | 400 | 200 | 70 | 81 | 


| 口徑 | H高度(mm) | 壓力損失(KPa) | 重量(kg) | |||||||||
| DN15 | 430 | 30 | 6.5 | |||||||||
| DN25 | 450 | 35 | 10.5 | |||||||||
| DN50 | 540 | 40 | 21 | |||||||||
| DN80 | 557 | 45 | 32 | |||||||||
| DN100 | 570 | 50 | 48 | |||||||||


| 口徑 | H高度(mm) | L(mm) | L1(mm) | 重量(kg) | ||||||||||
| DN15 | 250 | 220 | 211 | 3.7 | ||||||||||
| DN25 | 250 | 230 | 280 | 5.2 | ||||||||||
| DN50 | 250 | 255 | 300 | 8.7 | ||||||||||
| DN80 | 250 | 270 | 330 | 14.2 | ||||||||||
| DN100 | 250 | 280 | 350 | 15.2 | ||||||||||
| DN150 | 250 | 320 | 405 | 33.7 | ||||||||||
| DN200 | 350 | 350 | 460 | 48.7 | 
高溫結構與標準型結構的區別是加大了測量管與指示器之間的距離,這樣即可增加散熱也可增加隔熱材料的厚度
高溫結構只適用于K1指針顯示指示器,測量范圍:-80℃-+300℃
| 符號 | DN15 | DN25 | DN50 | DN80 | DN100 | DN150 | DN200 | ||||||||
| L | 270 | 280 | 305 | 320 | 330 | 370 | 400 | 


| 規格 | A | A1 | H | 重量(kg) | 
| DN15 | 240 | 265 | 250 | 8 | 
| DN25 | 250 | 285 | 250 | 12 | 
| DN50 | 270 | 330 | 350 | 36 | 
| DN80 | 300 | 375 | 350 | 53 | 
| DN100 | 320 | 405 | 350 | 71 | 
流量與壓力不穩定的液態介質適用
氣體介質適用

適用于被測介質溫度需要加熱或冷卻的工況,夾套厚度16mm,推薦接口DN15法蘭型,耐壓1.6Mpa
壓力:0.1013MP 溫度:20℃ 單位:kg/m3
| 名稱 | 密度 | 名稱 | 密度 | 名稱 | 密度 | 名稱 | 密度 | |||||||||
| 空氣 | 1.2041 | 丙烷 | 1.8332 | 苯 | 3.2476 | 氟 | 1.5798 | |||||||||
| 氮 | 1.1646 | 正丁烷 | 2.4163 | 一氧化碳 | 1.165 | 氯 | 2.9476 | |||||||||
| 氧 | 1.3302 | 異丁烷 | 2.4163 | 二氧化碳 | 1.829 | 氯甲烷 | 2.099 | |||||||||
| 氦 | 0.1664 | 正戊烷 | 2.9994 | 一氧化氮 | 1.2474 | 氯乙烷 | 2.6821 | |||||||||
| 氫 | 0.1664 | 乙烯 | 1.166 | 二氧化氮 | 1.9121 | 氨 | 0.708 | |||||||||
| 氪 | 3.4835 | 丙烯 | 1.7495 | 一氧化二氮 | 1.8302 | 氟利昂-11 | 5.711 | |||||||||
| 氙 | 5.4582 | 丁烯-1 | 2.3326 | 硫化氫 | 1.4169 | 氟利昂-12 | 5.0269 | |||||||||
| 氖 | 0.8391 | 順丁烯-2 | 2.3327 | 氟化氫 | 1.1235 | 氟利昂-13 | 4.3428 | |||||||||
| 氬 | 1.6605 | 反丁烯-2 | 2.3327 | 氧硫化碳 | 2.4973 | 氟利昂-113 | 7.79 | |||||||||
| 甲烷 | 0.6669 | 異丁烯 | 2.3327 | 臭氧 | 1.9952 | |||||||||||
| 乙烷 | 1.25 | 乙炔 | 1.083 | 二氧化硫 | 2.726 | |||||||||||
| 名稱 | 密度 | 名稱 | 密度 | 名稱 | 密度 | 名稱 | 密度 | ||||||||||
| 水 | 998.3 | 乙醇 | 789.2 | 間甲醇 | 1034 | 氟仿 | 1490 | ||||||||||
| 水銀 | 13545 | 乙二醇 | 1113 | 對甲酚 | 1011 | 四氯化碳 | 1594 | ||||||||||
| 溴 | 3120 | 正丙醇 | 804.4 | 甲酸甲酯 | 975 | 鄰二甲苯 | 880 | ||||||||||
| 硫酸 | 1834 | 乙丙醇 | 785.1 | 丙酸甲酯 | 915 | 間二甲苯 | 864 | ||||||||||
| 硝酸 | 1512 | 正丁醇 | 809.6 | 甲酸 | 1220 | 對二甲苯 | 861 | ||||||||||
| 鹽酸(30%) | 1193 | 乙腈 | 783 | 乙酸 | 1049 | 甲苯 | 866 | ||||||||||
| 環丁 | 1261 | 正戊醇 | 813 | 丙酸 | 993 | 鄰氯甲苯 | 1081 | ||||||||||
| 丙嗣 | 791 | 乙醛 | 783 | 苯胺 | 1021 | 間氯甲苯 | 1072 | ||||||||||
| 甲乙嗣 | 803 | 丙醛 | 808 | 丙腈 | 781.8 | 環己烷 | 778 | ||||||||||
| 酚 | 1050 | 環已酮 | 946.6 | 丁腈 | 790 | 乙烷 | 660 | ||||||||||
| 二氧化碳 | 1262 | 二乙醚 | 714 | 噻吩 | 1065 | 庚烷 | 684 | ||||||||||
| 乙醇胺 | 甘油 | 1261.3 | 二氯甲烷 | 1326 | 辛烷 | 702 | |||||||||||
| 甲醇 | 791.3 | 鄰甲酚 | 1020 | 醋酸甲酯 | 934 | ||||||||||||
| 公稱通徑 | 流速(m/s) | ||||||||||||||||||||
| 0.01 | 0.1 | 0.3 | 0.5 | 1 | 2 | 3 | 4 | 5 | 10 | ||||||||||||
| 流量(m3/h) | |||||||||||||||||||||
| 10 | 0.00283 | 0.02827 | 0.08482 | 0.14137 | 0.28274 | 0.56549 | 0.84823 | 1.13097 | 1.41372 | 2.82743 | |||||||||||
| 15 | 0.00636 | 0.06362 | 0.19085 | 0.31807 | 0.63617 | 1.27235 | 1.90852 | 2.54469 | 3.18086 | 6.36173 | |||||||||||
| 20 | 0.01131 | 0.11309 | 0.33929 | 0.56549 | 1.13097 | 2.26195 | 3.39292 | 4.52389 | 5.65487 | 11.3097 | |||||||||||
| 25 | 0.01767 | 0.17672 | 0.53014 | 0.88357 | 1.76715 | 3.50429 | 5.30144 | 7.06858 | 8.83573 | 17.6715 | |||||||||||
| 32 | 0.2895 | 0.28953 | 0.86859 | 1.44765 | 2.89529 | 5.79058 | 8.68588 | 11.5812 | 14.4765 | 28.9529 | |||||||||||
| 40 | 0.04524 | 0.45239 | 1.35717 | 2.26195 | 4.52389 | 9.04779 | 13.5717 | 18.0956 | 22.6195 | 45.2389 | |||||||||||
| 50 | 0.07069 | 0.70689 | 2.12058 | 3.53429 | 7.06858 | 14.1372 | 21.2058 | 28.2743 | 35.3429 | 70.6858 | |||||||||||
| 65 | 0.11945 | 1.19459 | 3.58377 | 5.97295 | 11.9459 | 23.8918 | 35.8377 | 47.7356 | 59.7295 | 119.459 | |||||||||||
| 80 | 0.18096 | 1.80956 | 5.42867 | 9.04779 | 18.0956 | 36.0911 | 54.2867 | 72.3823 | 90.4779 | 190.956 | |||||||||||
| 100 | 0.28274 | 2.82743 | 8.4832 | 14.1372 | 28.2743 | 56.5487 | 84.823 | 113.372 | 147.372 | 282.743 | |||||||||||
| 125 | 0.44178 | 4.41786 | 13.2536 | 22.0893 | 44.1786 | 88.3573 | 132.536 | 176.715 | 220.893 | 441.786 | |||||||||||
| 150 | 0.63617 | 6.36173 | 19.0852 | 31.8086 | 63.6173 | 127.2345 | 190.852 | 254.469 | 318.086 | 636.173 | |||||||||||
| 200 | 1.13097 | 11.3097 | 33.9292 | 56.5487 | 113.097 | 226.195 | 339.292 | 452.389 | 565.487 | 1130.973 | |||||||||||
| 250 | 1.76715 | 17.6715 | 53.0144 | 88.3573 | 176.715 | 353.429 | 530.144 | 706.585 | 883.573 | 1767.15 | |||||||||||
| 300 | 2.54469 | 25.4469 | 76.3407 | 127.235 | 254.469 | 508.938 | 763.407 | 1017.88 | 1272.35 | 2544.69 | |||||||||||
水:20°C 空氣:20°C,0.1013Mpa
| 液體 | 空氣 | ||||||
| 口徑 | 量程編號 | 量程范圍(L/h) | 量程范圍(m³/h) | 壓力損失Kpa | Nm3/h(標態下) | 壓力損失Kpa | |
| DN15 | 1 | 1~10 | 0.001~0.01 | 6 | 0.03~0.3 | 6.5 | |
| 2 | 1.6~16 | 0.006~0.016 | 6.4 | 0.05~0.5 | 7 | ||
| 3 | 2.5~25 | 0.0025~0.025 | 6.5 | 0.07~0.7 | 7.1 | ||
| 4 | 4.0~40 | 0.004~0.04 | 6.5 | 0.11~1.1 | 7.2 | ||
| 5 | 6.3~63 | 0.0063~0.063 | 6.6 | 0.18~1.8 | 7.3 | ||
| 6 | 10~100 | 0.01~0.1 | 6.6 | 0.28~2.8 | 7.5 | ||
| 7 | 16~160 | 0.016~0.16 | 6.8 | 0.4~4 | 8 | ||
| 8 | 25~250 | 0.025~0.25 | 7.2 | 0.7~7 | 10.8 | ||
| 9 | 40~400 | 0.04~0.4 | 8.6 | 1.0~10 | 11 | ||
| 10 | 63~630 | 0.063~0.63 | 11.1 | 1.6~16 | 14 | ||
| 11 | 63~630 | 0.063~0.63 | 14 | 
 | 14 | ||
| DN25 | 1 | 100~1000 | 0.1~1 | 7 | 
 | 7..7 | |
| 2 | 160~1600 | 0.16~1.6 | 10.8 | 3.0~30 | 8.8 | ||
| 3 | 200~2000 | 0.2~2 | 13.5 | 4.5~45 | 12 | ||
| 4 | 250~2500 | 0.25~2.5 | 15.8 | 
 | 15 | ||
| 5 | 320~3200 | 0.32~3.2 | 16.2 | 7.0~70 | 19 | ||
| DN50 | 1 | 400~4000 | 0.4~4.0 | 
 | 
 | 
 | |
| 2 | 500~5000 | 0.5~5 | 
 | 12~120 | 
 | ||
| 3 | 630~6300 | 0.63~6.3 | 
 | 
 | 
 | ||
| 4 | 500~5000 | 0.5~5.0 | 
 | 18~180 | 
 | ||
| 5 | 630~6300 | 0.63~6.3 | 
 | 
 | 
 | ||
| 6 | 1000~10000 | 1.0~10 | 
 | 18~180 | 
 | ||
| 7 | 1600~16000 | 1.6~16 | 
 | 25~250 | 
 | ||
| 8 | 2000~20000 | 2~20 | 
 | 40~400 | 
 | ||
| 9 | 2500~25000 | 2.5~25 | 
 | 
 | 
 | ||
| 10 | 1600~16000 | 1.6~16 | 
 | 63~630 | 
 | ||
| 11 | 2000~20000 | 2~20 | 
 | 
 | 
 | ||
| DN80 | 1 | 2500~25000 | 2.5~25 | 
 | 
 | 
 | |
| 2 | 4000~40000 | 4~40 | 
 | 70~700 | 
 | ||
| 3 | 6300~63000 | 6.3~63 | 
 | 120~1200 | 
 | ||
| 4 | 4000~40000 | 4~40 | 
 | 180~1800 | 
 | ||
| DN100 | 1 | 6300~63000 | 6.3~63 | 
 | 
 | 
 | |
| 2 | 8000~80000 | 8~80 | 
 | 180~1800 | 
 | ||
| 3 | 1000~10000 | 1~10 | 
 | 300~3000 | 
 | ||
| 4 | 8000~80000 | 8~80 | 
 | 
 | 
 | ||
| DN150 | 1 | 10000~10000 | 10~100 | 
 | 300~3000 | 
 | |
| 2 | 15000~150000 | 15~150 | 
 | 
 | 
 | ||
| 3 | 15000~150000 | 15~150 | 
 | 
 | 
 | ||
| DN200 | 1 | 20000~200000 | 20~200 | 
 | 
 | 
 | |
特殊口徑為DN20,DN32,DN40,DN65,DN125,請提前與廠家聯絡咨詢。
| FF- | 金屬管浮子流量計 | |||||||||||||||||||
| 結構形式 | ||||||||||||||||||||
| 基礎型,下進上出 | ||||||||||||||||||||
| 下進上橫出, | ||||||||||||||||||||
| 下橫進上橫出 | ||||||||||||||||||||
| 右進左出 | ||||||||||||||||||||
| 左進右出 | ||||||||||||||||||||
| 通徑代碼 | ||||||||||||||||||||
| DN15 DN25 DN50 DN80 DN100 DN200 例如:DN15口徑選項代碼“15” | ||||||||||||||||||||
| 測量管材質 | ||||||||||||||||||||
| 主體材質:碳鋼 | ||||||||||||||||||||
| 主體材質:不銹鋼1.4301(304) | ||||||||||||||||||||
| 主體材質:不銹鋼1.4435(316L) | ||||||||||||||||||||
| 主體材質:不銹鋼1.4435(316L)+內襯材料PTFE(聚四氟乙烯) | ||||||||||||||||||||
| 主體材質:鈦合金 | ||||||||||||||||||||
| 供電電源 | ||||||||||||||||||||
| DC 24V | ||||||||||||||||||||
| AC 220V | ||||||||||||||||||||
| 3.6V DC 鋰電池供電Battery power supply | ||||||||||||||||||||
| 顯示表頭樣式 | ||||||||||||||||||||
| 就地指針指示型 | ||||||||||||||||||||
| 液晶顯示+指針顯示型(4~20mA+繼電器) | ||||||||||||||||||||
| 智能型 | ||||||||||||||||||||
| 輸出信號及通訊 | ||||||||||||||||||||
| 無輸出 | ||||||||||||||||||||
| 4~20mA | ||||||||||||||||||||
| 輔助信號:繼電器功能輸出 | ||||||||||||||||||||
| 脈沖輸出 | ||||||||||||||||||||
| 介質溫度 | ||||||||||||||||||||
| -40℃~100℃ (標準指針顯示型可選) | ||||||||||||||||||||
| -30℃~80℃ (液晶顯示型可選) | ||||||||||||||||||||
| 0℃~120℃ (PTFE內襯型適用溫度) | ||||||||||||||||||||
| 0℃~150℃(耐高溫指針顯示型可選) | ||||||||||||||||||||
| 上述選型表不含選型代碼,如需選型代碼請聯系我們或填寫閣下的信息 | ||||||||||||||||||||
| 過程連接耐壓等級 | /D6 | EN 1092-1(DIN) PN6 | ||
| /D10 | EN 1092-1(DIN) PN10 | |||
| /D16 | EN 1092-1(DIN) PN16 | |||
| /D25 | EN 1092-1(DIN) PN25 | |||
| /D40 | EN 1092-1(DIN) PN40 | |||
| /D63 | EN 1092-1(DIN) PN63 | |||
| /D100 | EN 1092-1(DIN) PN100 | |||
| /D250 | EN 1092-1(DIN) PN250 | |||
| /P | 產品應用地特殊標準HG20594 | |||
| 備選項: 附加機構 | /1 | 高溫定制型 | |
| /2 | 高壓定制型 | ||
| /3 | 氣體介質阻尼定制型 | ||
| /4 | 保溫夾套型 | ||
| /5 | 螺紋連接定制型 | ||
地址:上海市閔行區梅蓮工業園滬光東路89號2棟1層 (201108)
電話:021-54430662
傳真:021-52271113
郵箱:info@kewill-auto.com.cn